Search by Model Number

Search by Part Number

Model and Serial Numbers

Click here for guide

MTD007960

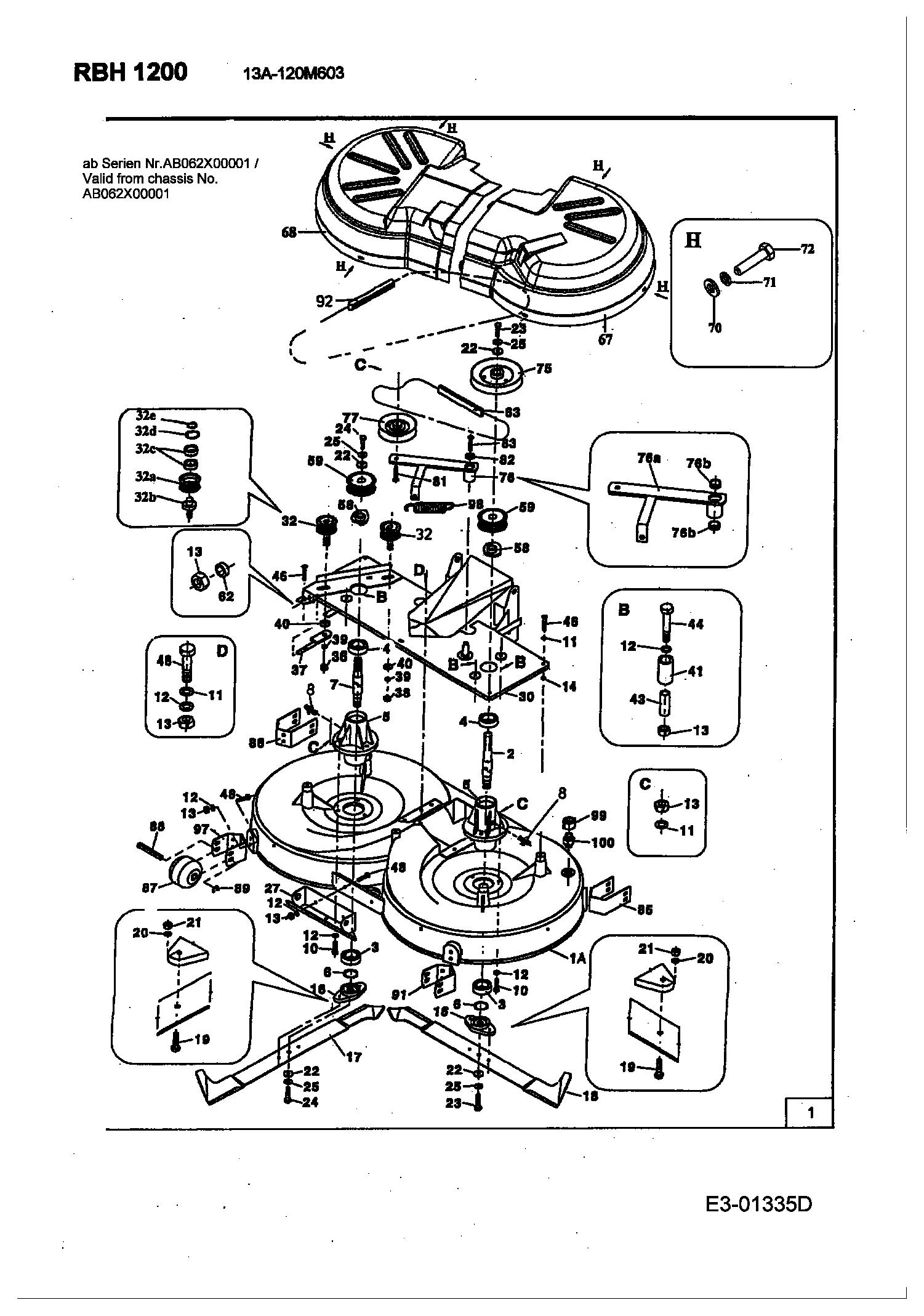
Assembly drawing

Please use your mouse to zoom in and out for more detailed view

MTD007960

Parts list

Match the number with the image on the left and click "Add" button to add the item to your basket

Please note, that the prices are for individual items

Items might appear more than once on the drawing, please check and adjust the quantity you require.

Ref No Description Price
001 WI-E4425 N/A POA
002 WI-D3189 SHAFT £231.37 Add
003 26.1026.04 BEARING £34.45 Add
004 26.1027.04 BALL BEARING £27.74 Add
005 WI-D0046 HUB SPINDLE £218.74 Add
006 716-04132 RING £3.69 Add
007 WI-D3188 NO LONGER AVAILABLE N/A POA
008 WI-280145 GREASE NIPPLE £5.63 Add
010 710-1764 SCREW:DIN 931-8.8:M10X70 21.1443.76 £4.36 Add
011 736-0695 WASHER £3.97 Add
012 736-0700 FLAT WASHER £2.63 Add
013 712-0692 HEX NUT £3.10 Add
014 736-0665 LOCK WASHER 24.8196.18 £3.34 Add
016 WI-D0087 NO LONGER AVAILABLE N/A POA
017 742-0819 RBH 1200 - BLADE R/H £57.88 Add
018 742-0820 BLADE-RBH1200 L/H £57.88 Add
019 710-1797 HHCS:M5x25:DIN 933-8.8 Zn5glcB £3.59 Add
01A WI-E4426 N/A POA
020 736-0602 WASHER A 5,3 DIN 125 £2.70 Add
021 712-0675 NUT:HEX:M5 x.80:DIN 985 £4.25 Add
022 WI-D0881 WASHER £16.38 Add
023 WI-16862 BOLT (RED) £7.20 Add
024 WI-041744 NO LONGER AVAILABLE N/A POA
025 736-0690 Washer 24.6487.22 £4.35 Add
027 WI-E3595 SUPPORT £88.27 Add
030 WI-E3586 NO LONGER AVAILABLE N/A POA
032 WI-E3682 PULLEY £236.29 Add
037 WI-D3690 TIGHTENER £35.25 Add
038 712-0635 NUT M10-8 DIN 934 £2.93 Add
039 24.8196.22 LOCK WASHER £4.69 Add
040 WI-D0392 WASHER £13.64 Add
041 WI-11600 BUSH £7.99 Add
043 WI-D0049 BUSH £22.16 Add
044 21.1443.78 Screw £4.50 Add
046 710-1682 SCR:M8-1:25.00 LG:DIN 933 £2.98 Add
048 710-1683 SCR:M8-1:30.00 LG:DIN 933 £3.20 Add
058 WI-E3697 SPACER £53.35 Add
059 WI-E3685 PULLEY £208.92 Add
062 WI-D3586 WASHER N/A POA
063 WI-40769 TIMING BELT £197.83 Add
067 WI-E4527 NO LONGER AVAILABLE N/A POA
068 WI-E4230 NO LONGER AVAILABLE N/A POA
070 736-0668 WASHER £2.23 Add
071 736-0648 WASHER:LOCK:B6:DIN 127 £2.44 Add
072 710-1753 HEX. SCREW:DIN 933-8.8 M6x20mm £2.70 Add
075 WI-D3331 NO LONGER AVAILABLE N/A POA
076 WI-E0673 ARM £83.11 Add
077 WI-E3594 NLA 28/09/21 - PULLEY £147.63 Add
081 22.1418.93 NO LONGER AVAILABLE N/A POA
082 WI-E0680 NO LONGER AVAILABLE N/A POA
083 22.1418.88 NO LONGER AVAILABLE N/A POA
085 WI-E3598 HOLDER RBH1200 £60.59 Add
086 WI-E3599 HOLDER RBH1200 £35.75 Add
087 WI-41752 NO LONGER AVAILABLE N/A POA
088 WI-D0048 PIN £27.50 Add
089 28.3595.60 RING £5.70 Add
091 WI-E3604 BRACKET £42.40 Add
092 WI-49653 BELT £113.40 Add
097 WI-E3605 BRACKET £34.15 Add
098 WI-E2789 SPRING £44.61 Add
099 WI-21064 NO LONGER AVAILABLE N/A POA
100 WI-26452 VALVE (RED) £14.86 Add
32A WI-E3683 ROLLER £185.93 Add
32B WI-E3693 PIN £96.60 Add
32C 26.1027.02 BALL BEARING £15.23 Add
32D 28.3592.35 NO LONGER AVAILABLE N/A POA
32E 28.3591.15 Retaining ring £3.34 Add
76A WI-E0674 TENSION ARM (RED) £72.83 Add
76B WI-41062 BUSH £14.34 Add