Search by Model Number

Search by Part Number

Model and Serial Numbers

Click here for guide

MTD007962

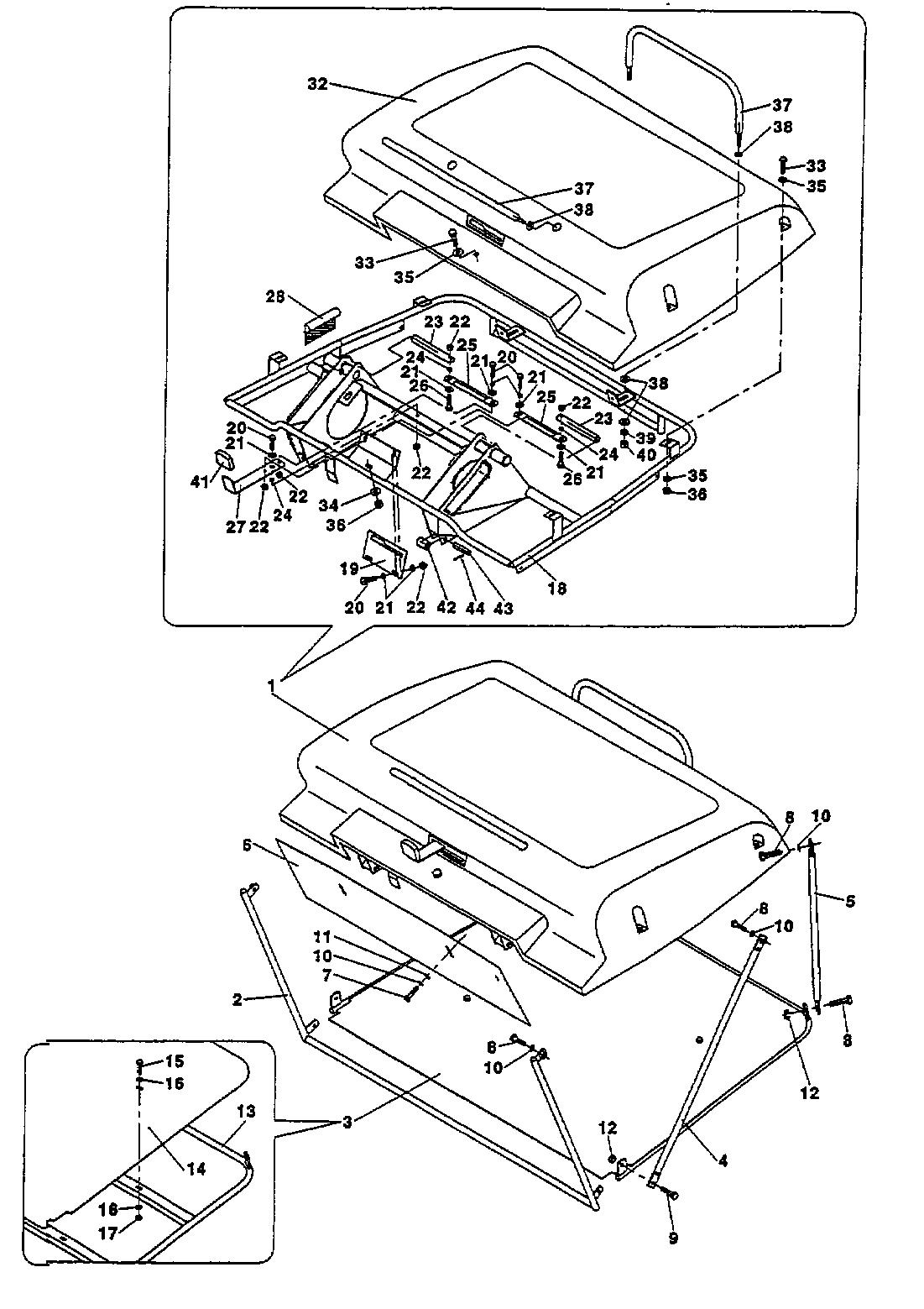
Assembly drawing

Please use your mouse to zoom in and out for more detailed view

MTD007962

Parts list

Match the number with the image on the left and click "Add" button to add the item to your basket

Please note, that the prices are for individual items

Items might appear more than once on the drawing, please check and adjust the quantity you require.

Ref No Description Price
001 WI-E4158 NO LONGER AVAILABLE N/A POA
002 WI-E3382 FRAME (RED) £113.21 Add
003 WI-E3384 FRAME £335.78 Add
004 WI-E3391 BAR (RED) £26.83 Add
005 WI-E3393 BAR (RED) £19.85 Add
006 WI-E5642 PLATE CATCHER £142.60 Add
007 21.1441.44 Screw £4.69 Add
008 710-1690 HHCS:M6-1:16.00 £3.39 Add
009 710-1753 HEX. SCREW:DIN 933-8.8 M6x20mm £2.70 Add
010 24.8196.14 NO LONGER AVAILABLE N/A POA
011 736-0668 WASHER £2.23 Add
012 712-0691 HEX NUT M6 DIN 985 £2.66 Add
013 WI-E3385 FRAME BASE £335.78 Add
014 WI-E3385 FRAME BASE £335.78 Add
015 710-1690 HHCS:M6-1:16.00 £3.39 Add
016 736-0668 WASHER £2.23 Add
017 712-0691 HEX NUT M6 DIN 985 £2.66 Add
018 WI-E3532 FRAME £498.69 Add
019 WI-E3374 LINE £24.66 Add
020 710-1690 HHCS:M6-1:16.00 £3.39 Add
021 736-0668 WASHER £2.23 Add
022 712-0691 HEX NUT M6 DIN 985 £2.66 Add
023 WI-E0631 PIN RBH1200 £30.02 Add
024 WI-E0633 SPACER £12.47 Add
025 WI-E0634 DRAW ROD £11.25 Add
026 710-1399 SCREW HEX £4.62 Add
027 WI-E3375 LEVER £14.65 Add
028 WI-26144 BAG £236.80 Add
032 WI-E4159 COVER £176.90 Add
033 710-1705 HEX. SCREW:M5X16:DIN 933 8.8 £4.00 Add
034 736-0602 WASHER A 5,3 DIN 125 £2.70 Add
035 736-0661 WASHER A 5,3 DIN 9021 £3.85 Add
036 712-0675 NUT:HEX:M5 x.80:DIN 985 £4.25 Add
037 WI-E3436 HANDLE £84.18 Add
038 736-0692 Flat Washer, 3/8" 43070 £3.20 Add
039 24.8196.22 LOCK WASHER £4.69 Add
040 712-0635 NUT M10-8 DIN 934 £2.93 Add
041 WI-24581 GRIP £8.54 Add
042 WI-E3526 BUSH £19.39 Add
043 WI-E3527 PIN £17.51 Add
044 24.6488.46 NO LONGER AVAILABLE N/A POA