Parts list
Match the number with the image on the left and click "Add" button to add the item to your basket
Please note, that the prices are for individual items
Items might appear more than once on the drawing, please check and adjust the quantity you require.
Ref |
No |
Description |
Price |
|
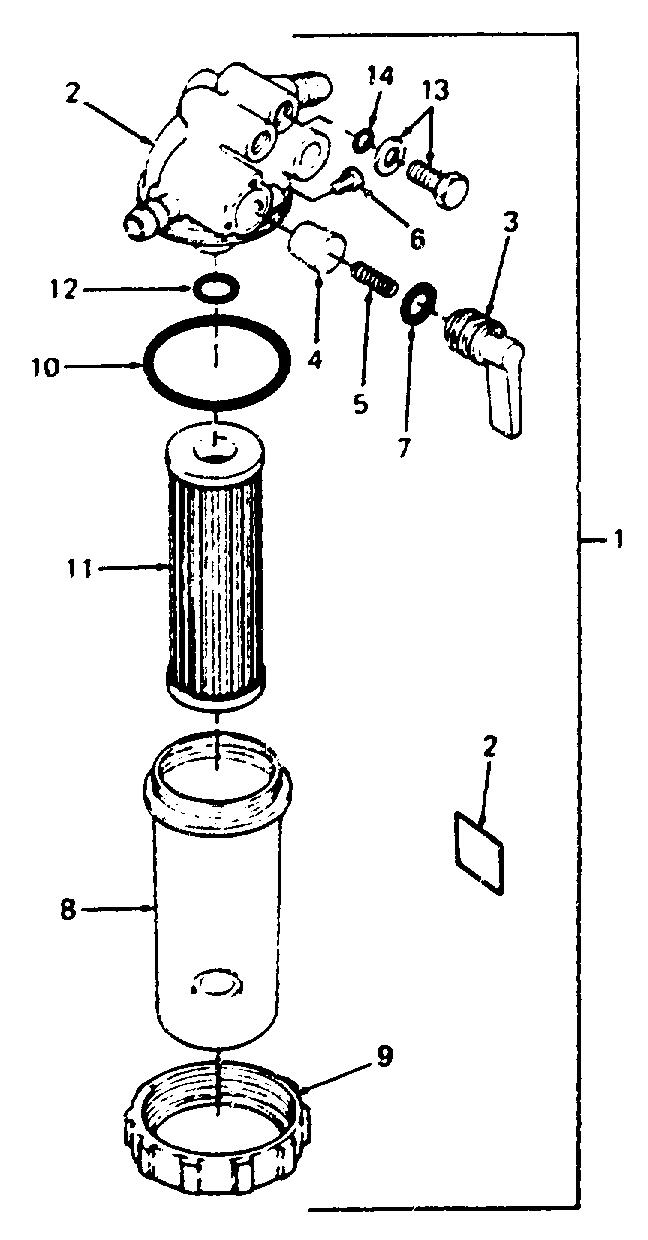
001
|
KB-19204-43010
|
FILTER, FUEL
|
N/A
|
POA
|
003
|
KB-14301-43522
|
LEVER, COCK
|
N/A
|
POA
|
005
|
KB-14301-43820
|
SPRING, VALVE
|
N/A
|
POA
|
006
|
KB-14301-43830
|
SCREW, LEVER
|
N/A
|
POA
|
007
|
KB-14301-43840
|
O-RING, LEVER
|
N/A
|
POA
|
008
|
KB-14911-43074
|
CUP, FILTER
|
N/A
|
POA
|
009
|
KB-14301-43590
|
RING
|
N/A
|
POA
|
010
|
KB-14301-43650
|
O-RING, FILTER CUP
|
N/A
|
POA
|
011
|
KB-15231-43560
|
ELEMENT
|
N/A
|
POA
|
012
|
KB-04811-00100
|
O-RING, FILTER
|
N/A
|
POA
|
013
|
KB-15231-43283
|
PLUG, BREATHER
|
N/A
|
POA
|
014
|
KB-04810-00060
|
O-RING
|
N/A
|
POA
|
015
|
KB-66706-58310
|
LABEL, FUEL FILTER
|
N/A
|
POA
|